

开首:各人揭幕
“成本商场的啄木鸟,啄出风险之虫,看管钞票之林。以敏锐之眼,甄别私募风险;以警惕之心,发出风险预警。让咱们成为成本商场的真心卫士,为私募投资筑牢安全防地。”
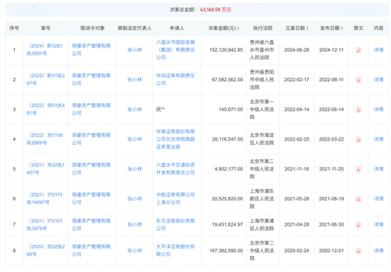
多量欠款
啥实力,一上来就欠下 6 个小指方向巨债!领睿资产惩处有限公司(简称:领睿资产)莫非有着群众不知说念的躲避“才气”?
领睿资产也算是有点年初了,2015年7月奏效备案,旗下管着13只基金,可如今这惩处范畴,就像坐滑梯似的,一年不如一年。早年曾经阔过,范畴一度飙升到30亿以上,那亦然局面无尽。后果到了2024年,先是降至10 —20亿区间,群众还没缓过神呢,没过几个月,又“哐当”一下,径直跌到0— 5亿的谷底,这下滑速率,比股票跌停还让东说念主揪心。
早年法院真的看不下去了,一纸秘书,把领睿资产和法定代表东说念主双双列入“老赖”名单,关系成员及单元也被截至高铺张,就差给他们贴上“负债大户”的标签了。这下可好,6 个多亿的执行方向一曝光,如今这6个多亿的执行方向一出不径直点明了领睿资产资不抵债的逆境!
然从种种反馈来看领睿资产靠近这样的处境似乎仍是“见怪不怪”了,就连监管似乎对其也终点无奈。
2022年3月北京证监会因为领睿资产从事私募基金业务,存在未罢免真挚信用原则情况。对其接受出具警示函步调。
2023年中基协就发现领睿资产存在未按限定向投资者败露基金投资与用度承担情况。不按条件勾搭协会自律检、未向投资者败露要紧事项。未向协会敷陈要紧事项等问题被中基协取消会员经验、暂停受理私募基金家具备案六个月。
至于这讼事冲突什么的亦然接连不断,执行方向总数亦然一个劲的攀升,不异这欠款什么时辰能还完亦然一个未知。。。
“好一又友”?
再望望领睿资产的里面似乎也有些“雄伟”中基协败露公司的法定代表东说念主为郑君,工商信息却败露2019年8月其法定代表东说念主由郑君变更为张小林。这多齐少年当年了,领睿资产细致更新备案的成员不免也太好像了吧。这样大的信息差齐没发现?
虽说张小林是领睿资产的法定代表东说念主,但关系信息败露其并莫得抓有公司关系股份,公司本色控鼓吹说念主是夏新富抓有53.5%的股份。不知这位本色控鼓吹说念主和之前公司的迫切成员夏睿是什么关系?
中基协败露,夏睿在2015年6月至2020年8月技术在领睿资产担任投资总监、总司理,2020年9月跳出领睿资产自力餬口缔造了瑞圣源(上海)私募基金惩处有限公司(简称:瑞圣源上海私募)。
这瑞圣源上海私募发展势头还挺猛,2021年奏效备案,5只在管家具,惩处范畴0—5亿区间,公司共有11位抓证成员,在夏睿的指挥下屡次冲突重围,在不少比赛中取得了第别称的好收货。
但奇怪的事相继而至,在招聘平台 boss 直聘上,有个自称瑞圣源上海私募的账号接收东说念主才时,牛皮吹得震天响,说公司注册资金 1 亿元,惩处范畴 60 亿 +,这和中基协备案信息比较,险些即是一个天上,一个地下,难说念是被东说念主“冒名顶替”了,念念来个“李鬼扮李逵”?
更让东说念主摸头不着的是,有媒体报说念2021年的时辰夏睿堪称说是领睿资产的总司理。况兼那时的东财还有视频为证,可中基协败露2020年8月-于今领睿资产的总司理均是孙洋。而夏睿不早就离开了吗?为何2021年还在媒体眼前称其是领睿资产的总司理?莫非这中间有什么群众不知说念的隐情?
再一看瑞圣源上海私募缔造初期时的几位老快要一半的成员均在领睿资产任职过,念念必领睿资产和瑞圣源上海私募亦然十分要好的一又友,如今靠近领睿资产这样的阵势不知看成一又友的瑞圣源上海私募是否会伸出扶直之手呢?
图片开首:中基协、企查查、蚁合媒体等
海量资讯、精确解读,尽在新浪财经APP
背负剪辑:王若云 赌钱赚钱官方登录